Medical Technology
Medical Technology
Preparing a Selection of Control Variables for a Dose Distribution to be Adjusted in a Technical Instrument
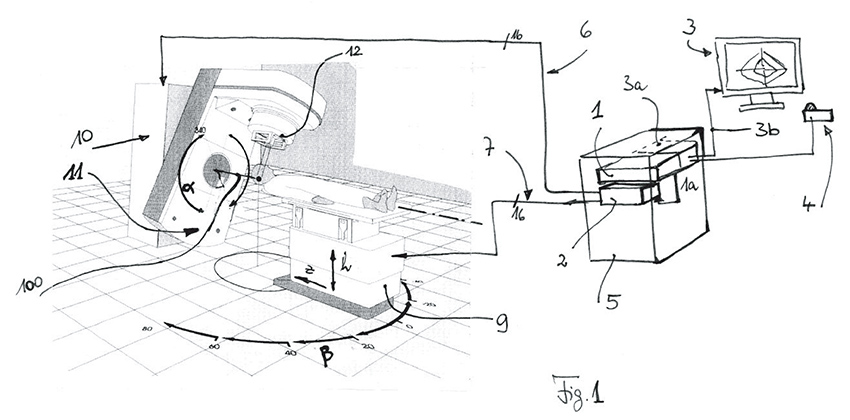
This invention relates to a planning tool for interactive selection of controlled variables (x1, y7, α1, α2, α3, I1, I2) of a radiation therapy plan from a database (1) having a plurality of previously calculated problem solutions. Each problem solution represents a radiation therapy plan, which from a technical standpoint consists of a plurality of controlled variables or commands. Each problem solution also has characteristic values of radiation doses for a target volume (T, target) and at least one risk volume (risk organ, h1, h2, h3), characteristic values being stored in the database (1).
