Chemical Engineering
Chemical Engineering
Hair Careor Therapeutic Skin Treatment
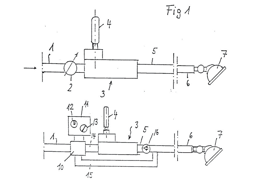
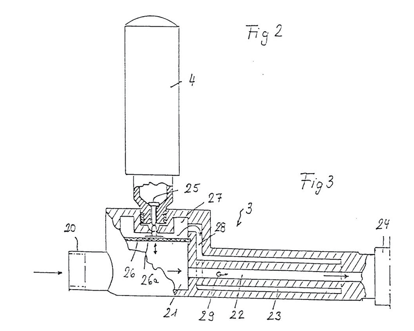
A process and an arrangement for hair care or therapeutic skin treatment are provided which most finely impregnate the heated and running water with CO2directly before it is contacted with the hair or skin. Thisservesfor lowering the pH value markedly below7 dueto the carbonic acid forming in the running water.mit dem Haar oder der Haut mit CO2 feinst-imprägniert. Durch die sich anteilsmäßig bildende Kohlensäure wird der pH-Wert auf Werte deutlich unter 7 abgesenkt.

